(1)直流安培表、直流伏特表

    直流伏特表的测量范围有0~3V0~15V两档.

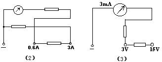
    直流安培表的测量范围有0~0.6A0~3A两档.

    这两种电表的外形结构基本相同,其主要区别是面板刻度及接线柱标记(如图1).整个表头装在带玻璃面板的斜坡形外壳内.在接线柱及玻璃面板中间有零点调整器,接线柱上标有正负及相应测量范围.

    直流安培表和直流伏特表的表头结构都是磁电式,区别在于内部线路.直流安培表的内部线路如图2,直流伏特表的线路见图3

    此电表的技术规格如下:仪表准确度为2.5(即在规定条件下使用,最大误差不超过满刻度的±2.5);电表阻尼时间<4s;直流安培表表头电压降为75毫伏,直流伏特表表头电流为3mA

    仪表规定使用条件:环境温度0~40℃,相对湿度<80%.

    仪表使用前应先检查指针是否对准零点,如有偏差,需有零点调整器将指针调到零位.

    (2)灵敏电流计

    灵敏电流计是供学生实验或实验室检查直流电路中微弱的电流或电势差用.如用作电桥测量、温差电偶、电磁感应及光电效应等实验中的检流计.

    下图中是电表的外形结构.表头的结构同直流安培表、直流伏特表相同.

    灵敏电流计的量程电流(满刻度电流值)30微安.

    仪表使用前应先检查指针是否对准零点,如有偏差,应用零点调节器调零.

    用灵敏电流计检查电路中微弱电流时,可直接串联在待测电路中,从电流计指针是否偏转来确定电路中有无电流通过.如果指针向右偏转,则表明电路中有电流从“+”接线柱到“-”接线柱;如果指针向左偏转,则表明电流方向由“-”接线柱流向“+”接线柱.

    用灵敏电流计检查电路两点间是否存在电势差,可直接并联在电路中待测的两点,根据指针偏转确定两点间是否存在电势差,根据偏转的方向可确定点电势的高低.

    无论用作检测电流或电势差,此电流计都不能精确地测量电流强度或两点间的电势差,而只能作为检流计或示零仪表用.

    任何时候都不应使通过电流计的电流强度超过满刻度电流值,更不要将电流计误作安培表或伏特表接入电路.

    仪表搬运时应使两接线柱短路.